瑞能達針對釩電池的電堆配件有以下集成品并提供相應服務:
一、雙極板(光板子)
構成物:石墨氈+塑料(熱塑性PE/PVDF/PPS),我們簡稱之為:雙極板
二、雙極板+石墨膜集成體(雙極板覆石墨膜)
構成物:正面膜1+雙極板2+背面膜3,我們簡稱之為:低接觸電阻雙極板
三、雙極板+石墨氈集成體(雙極板覆石墨氈),即一體化電極雙極板&端電極。
構成物 ①:正面氈1+雙極板2+背面氈3,我們簡稱之為:三合一
②:正面氈1+雙極板2+金屬板3,我們簡稱之為:端三合一
簡要參數
|
面積 |
(820*4800)氈*2+雙極板(900*680) |
|
超導電性 |
10-3 ohm-cm |
|
阻隔性 |
無滲漏/滲透 |
|
強度 |
≥103MPa |
|
酸耐受性 |
≥5年/10年/20年 |
四、雙極板+石墨氈+液流外框集成體(雙極板覆石墨氈再生成液流外框)
構成物:正面外框1+正面氈2+雙極板3+背面氈4+正面外框5,我們簡稱之為:五合一
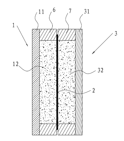
瑞能達為釩液流電池系統能夠實現快速、簡易維護電堆而開發了單電池。其一體化結構包括:

負極雙極板1、(負極液流框6+負極氈12)、離子膜2、(正極氈32、正極液流框7)、正極雙極板3
背景技術:現有的單電池包括負極液流框、負極、離子膜、正極、正極液流框,離子膜與液流框之間通過耐酸粘結劑粘結,或配以耐酸橡膠密封圈或密封條,并施以鎖緊力實現對電堆的密封,傳統單電池組裝工序復雜。為了防止電堆內單電池的電解液泄漏到外界,在電堆的兩端設有端板,端板上安裝有拉桿,且在拉桿兩端用彈簧或螺絲將端板鎖緊而獲得電堆內單電池所需的鎖緊力,鎖緊力需要同時滿足單電池密封所需的力、堆結構所需的支撐力和熱脹冷縮后的補償力,而其中一個力不能滿足時均會造成密封隱患,極大的影響了電堆內單電池的使用壽命,且裝堆耗時較多,工程較大。同時,現有的單電池在裝堆過程中,離子膜是安裝在相鄰的兩個單電池之間,使得離子膜與液流框之間需要密封圈或密封條進行密封,增加了裝堆成本和難度。
六、電堆
瑞能達能為釩液流電池系統集成商提供以上單電池組裝的電堆。
|